Keepfull/Cryo Vents K2041 and K2042
Cryo vents (also called vapor vents or keepfulls) with 1/2" male connection for vacuum-jacketed pipe systems
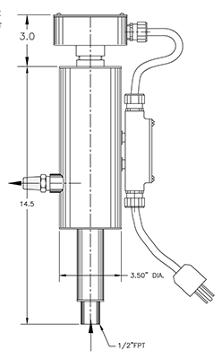
A cryo vent (also called a keepfull or vapor vent) keeps liquid flowing in a vacuum-jacketed pipe system by allowing the boil-off of gases to escape, but not the liquid. Vapor vent heaters warm the exhaust gas to eliminate condensation and ice build-up on piping and fixtures.
Cryo vents (also called vapor vents or keepfulls) with 1/2" male connection for vacuum-jacketed pipe systems
Eliminates Condensation and Ice on Piping (375 Watts)
For more information:
Eliminates Condensation and Ice on Piping (500 watts)
For more information: