Home »
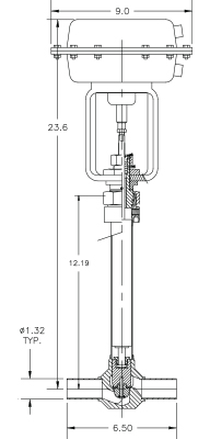
Cryogenic Valve Model C2081T-A22A
1" Cryogenic Valve with Pneumatic Actuator
Features
- Pneumatic Actuator Air to Open
- Stem Seal (Nitrile 0-Ring with Parker Lube)
- Cryogenic Stem Packing
- Brass Bonnet
- Cryogenic Bonnet Seal
- Bonnet Purge Port (Thermal Relief Location)
- All Stainless Steel Body & Stem
- Tight Fit Stem Horizontal Operation OK
- Plug to Stem Stabilizer
- Brass Plug
- KEL-F Seat Seal w/ Locked Thread
- 1″ Mpt Ends Typ
- Flow Plug Equal %
Technical Data
- 300 PSI MAWP (Maximum Operating Pressure)
- Seat Seal Bubble Tight @ 150 PSIG
- Packing Mass Spec Tested @ 1 x 10 -5 Torr
- Leak Rate Below 1 x 10-9 CC GHe/SEC
- Heat Leak: 10.4 BTU/HR to 20º k
- Cooldown Mass: 3.80 Pounds
Applications
-
- Vacuum Jacketed Piping
- Cold Boxes
- Manifold and Tank Systems
- Liquid Nitrogen Systems
- Hydrogen, Helium, Argon, and Oxygen Service (With Proper Cleaning)

