Home »
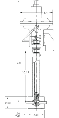
Cryogenic Valve Model C2041-C21
.5" Cryogenic Valve w/Pneumatic Actuator & Positioner, Coldbox Cuff
Features
- Pneumatic Actuator Air to Open (Nc)
- P–P Position Controller
- Stainless Steel Stem & Threads
- Redundant Stem Seal
- Cryogenic Stem Packing
- Brass Bonnet
- Redundant Cryogenic Bonnet Seal
- Bonnet Purge Port (Thermal Relief Location)
- All Stainless Steel Body & Stem
- Tight Fit Stem
- Brass Plug
- Plug to Stem Stabilizer
- Metering Equal % Trim
“H” Trim Cv= 0.15 – 0.0035 - .50 x .035 Tube Ends
Technical Data
- 300 PSI MAWP (Maximum Operating Pressure)
- Seat Seal Bubble Tight @ 150 PSIG
- Packing Mass Spec Tested @ 1 x 10-5 Torr
- Leak Rate Below 1 x 10-9 CC GHe/SEC
- Heat Leak: 4.5 BTU/HR to 20° k
- Cooldown Mass: 0.85 Pounds
Applications
- Vacuum Jacketed Piping
- Cold Boxes
- Manifold and Tank Systems
- Liquid Nitrogen Systems
- Hydrogen, Helium, Argon, and Oxygen Service (With Proper Cleaning)

