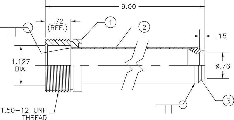
Cryogenic Bayonet CB706-5F9 Series
Female Bayonet Assembly 1/2″ Size, 9″ Thermal Length
Notes
- Fusion tig weld with argon purge
- Leak check welds to 1 X 10-9 SCC/SEC gHe
- Heat Leak BTU/HR: 7.2 (SET)
Applications
- Cryogenic Flexlines
- Cryogenic Piping Systems
- Helium Transfer
- Insulated Piping & Flexlines
- Vacuum Insulated Piping

