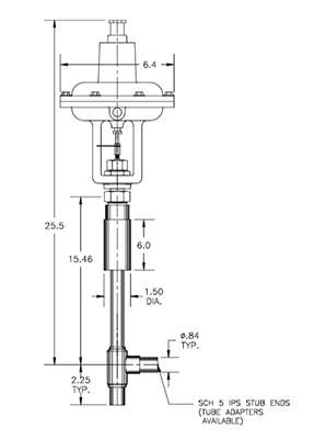
C3000 Series Valve - 1/2"