Liquid Helium Valve Model C3081-M21
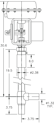
1.0" LHe Vacuum Jacketed Globe Valve, Manual Operation
1.0" LHe Vacuum Jacketed Globe Valve, Manual Operation
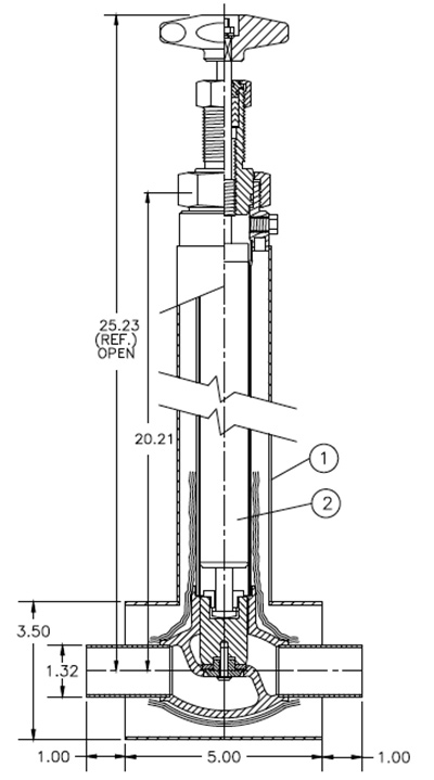
1.0" LHe Vacuum Jacketed Globe Valve, Pneumatic Actuated Operation
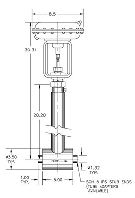
1.0" LHe Cold Box Cuff Globe Valve, Manual Operation
1.0" LHe Cold Box Cuff Globe Valve, Pneumatic Actuated Operation
1.0" LHe Cold Box Cuff Globe Valve, Pneumatic Actuated Operation
1.0" LHe Cold Box Cuff Right Angle Valve, Manual Operation
1.0" LHe Cold Box Cuff Valve, Pneumatic Actuated Operation