Home » Cryogenic Valves » C2000 Cryogenic Valves

C2000 Cryogenic Valves

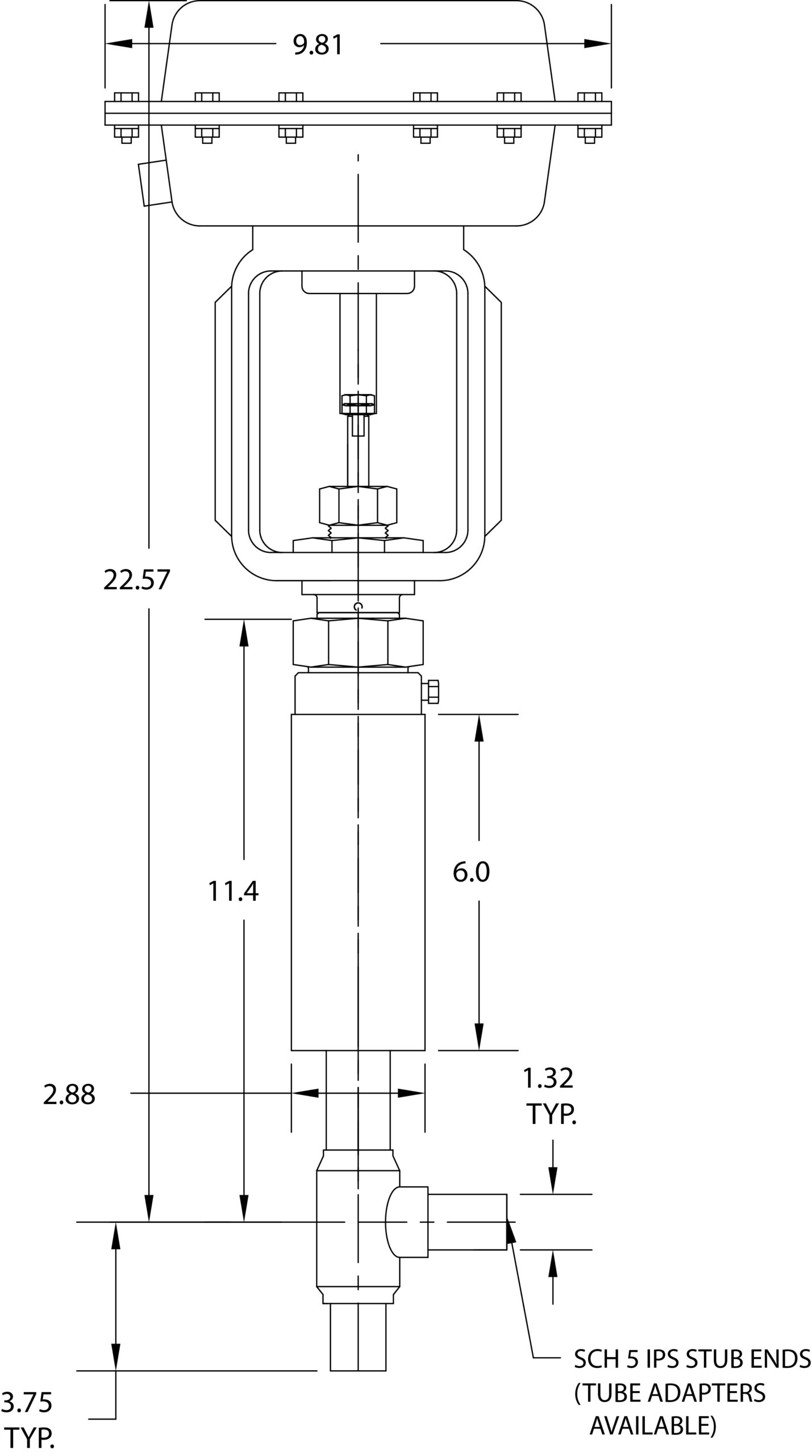
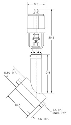
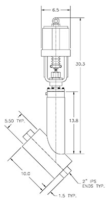
C2000 cryogenic valves range from 1/2″ tube (with optional adapter) to 2″ pipe-size weld ends. Applications for the C2000 Series include vacuum-jacketed piping, cold boxes, manifolds, and tank systems. These vacuum-jacketed valves can be used with liquid nitrogen, helium, argon, oxygen service (with proper cleaning), and other cryogenic liquids.